当前位置: 主页 > 资讯
资讯

通用汽车申请非充气车轮设计专利

发布时间:2026-02-12人气:

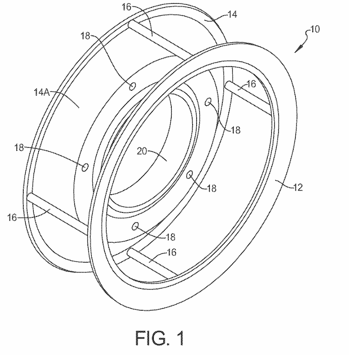
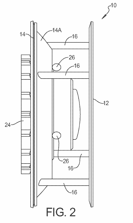
盖世汽车讯 据外媒报道,通用汽车公司(GM)已提交一项关于非充气车轮设计的专利申请。该专利申请的专利号为US 12,508,841 B2,于2023年3月29日提交至美国专利商标局(USPTO)。相关文件于2025年12月30日公布,并列出了美国密歇根州工程师William David Robinson, III为发明人。

通用汽车申请非充气车轮设计专利

根据专利描述,通用汽车公司的这种车轮设计方案基本上摒弃了传统充气轮胎以及传统气动车轮所使用的封闭式轮辋结构。这种车轮并非依靠气压,而是采用了一种内部结构,该结构包括一个外侧环形胎圈和一个内侧环形胎圈。这两个胎圈通过间隔设置的支撑件连接,这些支撑件可以是杆、臂或梁。由于胎圈之间没有环形轮辋,这种车轮相较于传统气动车轮重量显著降低。

通用汽车申请非充气车轮设计专利