网站地图
关于我们
网站首页
资讯
产品
新能源汽车
知识
关于我们
当前位置:
主页
>
资讯
资讯
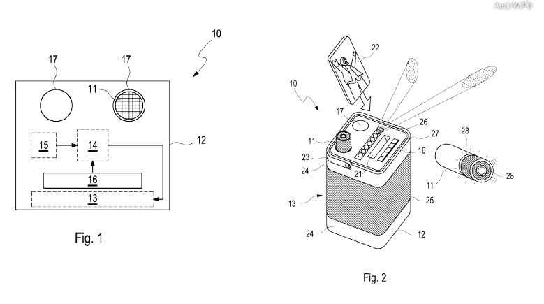
奥迪申请车载卡拉OK模块 实现边走边唱
795
资讯
2026-02-16 05:55:36
Seeds | 未来不远完成2亿元天使轮融资
996
资讯
2026-02-16 05:55:34
Seeds|自变量机器人获字节、红杉等10亿元投资
666
资讯
2026-02-16 05:55:34
奇瑞iCAR V27量产车下线 将于2026年一季度上市
971
资讯
2026-02-16 05:55:34
中鼎墨西哥工厂开建,中国供应链企业的全球化进阶
844
资讯
2026-02-16 05:55:34
首页
上一页
166
167
168
169
170
下一页
末页