网站地图
关于我们
网站首页
资讯
产品
新能源汽车
知识
关于我们
当前位置:
主页
>
资讯
资讯
墨西哥登顶,欧洲多点开花丨2025年1-11月比亚迪乘用车出口TOP10国家
362
资讯
2026-02-12 23:03:36
CES 2026:智元发布开源仿真平台 Genie Sim 3.0
154
资讯
2026-02-12 23:03:32
东盟车市变局:燃油车退潮,电动车崛起
219
资讯
2026-02-12 23:03:28
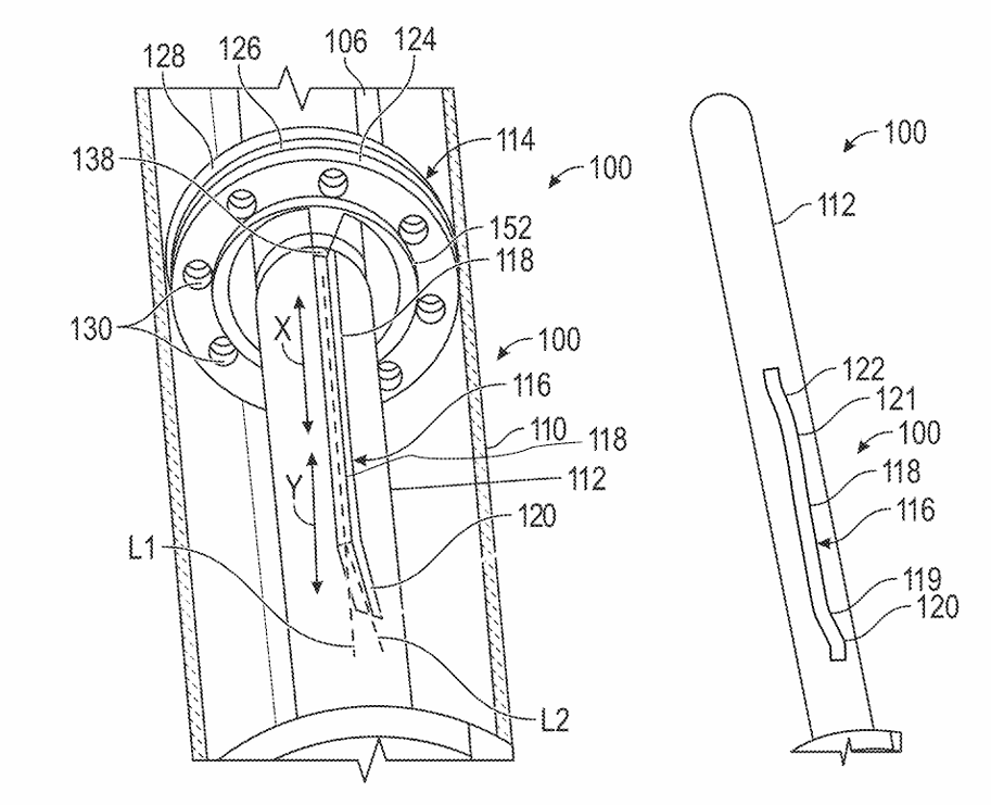
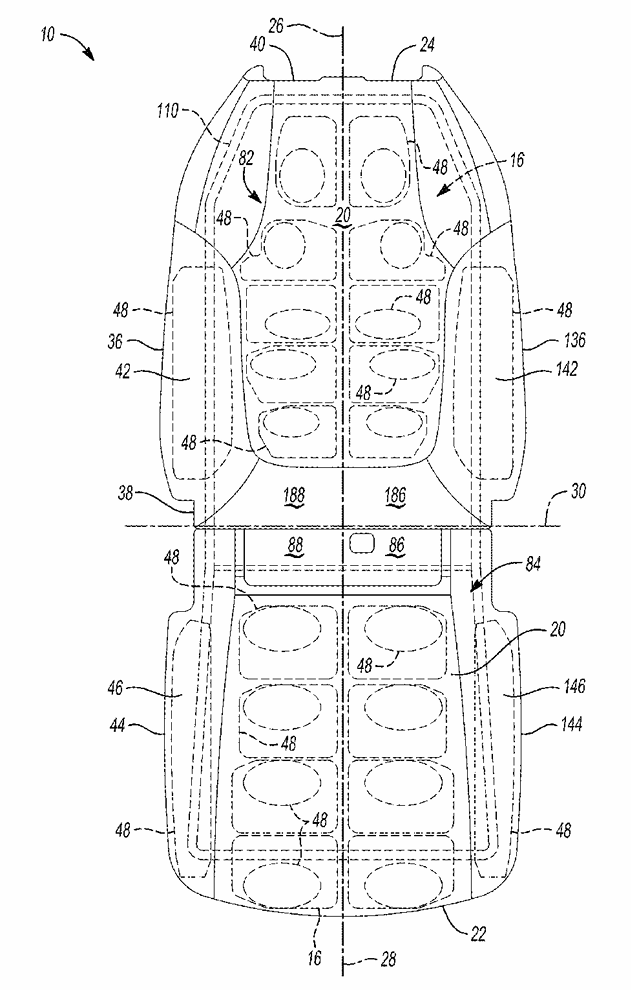
通用汽车申请尺寸可调节座椅专利
146
资讯
2026-02-12 23:03:18
通用汽车申请新型自适应减震器专利
469
资讯
2026-02-12 23:03:16
首页
上一页
186
187
188
189
190
下一页
末页