网站地图
关于我们
网站首页
资讯
产品
新能源汽车
知识
关于我们
当前位置:
主页
>
资讯
资讯
比亚迪将在巴西推出首款灵活燃料插电式混合动力车
967
资讯
2026-02-04 05:56:04
CES 2026:追觅科技“星空计划”概念车亮相
543
资讯
2026-02-04 05:56:04
CES 2026:德州仪器新一代汽车芯片亮相,驱动自动驾驶向高阶迈进
543
资讯
2026-02-04 05:56:03
CES 2026:车联天下正式发布Deep Fusion EEA
964
资讯
2026-02-03 05:55:48
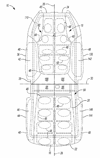
通用汽车申请尺寸可调节座椅专利
763
资讯
2026-02-03 05:55:48
首页
上一页
335
336
337
338
339
下一页
末页